ОПОРЫ для клематисов КРАСИВЫЕ.. ДЕЛАЕМ ОПОРЫ ДЛЯ КЛЕМАТИСА СВОИМИ РУКАМИ: ПОДБОРКА ИЗ 6-ТИ МАСТЕР-КЛАССОВ
- ОПОРЫ для клематисов КРАСИВЫЕ.. ДЕЛАЕМ ОПОРЫ ДЛЯ КЛЕМАТИСА СВОИМИ РУКАМИ: ПОДБОРКА ИЗ 6-ТИ МАСТЕР-КЛАССОВ
- Опора для клематиса из пластиковых труб своими руками
- Опора для клематиса за 15 минут. Популярные типы шпалер и их изготовление
- Опора для клематиса из арматуры своими руками. Шпалера своими руками, или Дом для клематиса
- Опора для клематиса своими руками. Как сделать опору для клематисов своими руками
- Опоры для клематисов из металла. Самостоятельное изготовление
ОПОРЫ для клематисов КРАСИВЫЕ.. ДЕЛАЕМ ОПОРЫ ДЛЯ КЛЕМАТИСА СВОИМИ РУКАМИ: ПОДБОРКА ИЗ 6-ТИ МАСТЕР-КЛАССОВ
ДЕЛАЕМ ОПОРЫ ДЛЯ КЛЕМАТИСА СВОИМИ РУКАМИ: ПОДБОРКА ИЗ 6-ТИ МАСТЕР-КЛАССОВ
Источник: http://landscape-project.ru/postroiki-v-sadu/opory-dlya-klematisa-svoimi-rukami.html
Клематисы – красивейшие вьющиеся растения со звездчатыми цветками простых и махровых форм. Они – многолетники и цветут практически все лето.
Поэтому среди растений для вертикального озеленения клематисы занимают лидирующие позиции. Но, чтобы этот роскошный цветок в полной мере проявил свою красоту, ему требуется опора – декоративная, прочная и долговечная. Многие садоводы делают такие конструкции самостоятельно. И это неудивительно. Ведь опора для клематиса, сделанная своими руками, может иметь любую конструкцию и размер, выполняться из разных материалов – все по вашему желанию.
Предлагаем вам оценить простоту изготовления нескольких вариантов подобных опор.
Этот вариант опоры подойдет, если вам потребуется создать сплошную стену из клематиса. Например, чтобы отгородиться от любопытных соседей, устроить тихий уголок в саду, зонировать пространство.
Металлическая сетка - недорогая опора под клематис
Клематисы хорошо удерживаются на металлической сетке с крупными ячейками
Все, что необходимо для этого:
дорожная сетка (ячейки 10х15 см, толщина прута 4-5 мм, ширина – 2,5 м);
2 металлические арматуры (d=15-20 мм, длина – 3 м);
зеленая эмаль для покраски.
К листу дорожной сетки по бокам приваривают арматуру.
С нижней стороны сетки арматура образует «ножки», выступающие на 0,5 м. Металл окрашивают двумя слоями эмали для предупреждения коррозии. «Ножки» вкапывают в землю на высоту 0,5 м – это позволит сделать конструкцию устойчивой и не свалиться при порывах ветра.
Сетчатую стену можно увить не только клематисом, но и любыми другими вьющимися: плетистыми розами, девичьим виноградом, ипомеей, кобеей и т.д.
Вариант #2 . Опора-цилиндр из сетки
Опора-цилиндр поможет задекорировать вертикальные объекты: столбы, сухие стволы деревьев и др. Подобные виды опор для клематисов создают видимость цветущих столбов высотой 1,5-2,5 м — незабываемое впечатление!
Опора для клематиса своими руками из сетки
Клематисы, особенно слабо цепляющиеся сорта, можно высадить и внутри сетчатого цилиндра
Для изготовления этой опоры пригодятся:
дорожная сетка или сетка с покрытием ПВХ;
две арматуры-«ножки»;
проволока.
Сетка скручивается в цилиндр, две стороны скрепляются между собой проволокой. С противоположных сторон цилиндра привариваются 2 арматуры длиной около 1 м таким образом, чтобы 0,5 м остались свободными. Их вкапывают в землю для устойчивости конструкции.
Если для опоры была использована дорожная (арматурная) сетка, то ее обязательно требуется окрасить. Желательно – зеленой эмалью, которая по мере роста клематиса полностью сольется с зеленью листьев и побегов. Металлическая сетка, покрытая ПВХ, в покраске не нуждается.
Клематисы высаживают рядом с опорой-цилиндром. Чтобы создать полностью увитый зеленью и цветами столб достаточно подсадить 2 клематиса с противоположных сторон.
Опора для клематиса из пластиковых труб своими руками
Опоры для клематиса — какие бывают и как сделать своими руками
Клематис является одной из любимейших цветочных культур у ландшафтных дизайнеров, профессиональных озеленителей и простых дачников. Однако чтобы растение выглядело декоративно и привлекательно, ему требуется помочь и предоставить опору — некую поверхность, по которой оно могло карабкаться наверх.
Зачем клематисам опора
В садовом дизайне чаще всего находят применение лиановидные формы клематисов, длинные плети которых вырастают до нескольких метров и нуждаются в опоре, чтобы взбираться по ней повыше к солнцу. Одни виды этих лиан цепляются за опорные конструкции при помощи гибких закручивающихся усиков. Другие же нащупывают их молоденькими листочками и черешками, а затем при прикосновении охватывают опору.
В принципе клематисы могут выступать и как почвопокровные растения, раскидывая плети по сторонам, но у вертикального озеленения есть ряд преимуществ:
- вертикально расположенные побеги лучше проветриваются и равномернее освещаются солнечными лучами;
- доступ и, соответственно, уход за прикреплённым к опорным элементам цветком существенно облегчается;
- цветущий клематис, размещённый на опоре, выглядит гораздо более аккуратно и декоративно, являясь украшением сада;
- конструкция, оплетённая лианой, позволяет зонировать участок, создавать притенение, маскировать какие-либо недостатки или подчёркивать достоинства.
Существуют кустарниковые и полукустарниковые разновидности клематисов, удерживающие одревесневшие ветви самостоятельно и не нуждающиеся в поддержке.

Не у всех клематисов есть усики, при помощи которых можно цепляться за опору
Опоры должны удовлетворять следующим требованиям:
- учитывать индивидуальные характеристики выращиваемого растения:
- высоту;
- место посадки;
- особенности обрезки (вырезают полностью или частично, оставив пеньки);
- необходимость снятия с опоры на зиму и последующего утепления;
- формирование цветков (на прошлогодних побегах или текущего года, по всей длине или на концах);
Какие бывают подпорки для вьющихся растений в саду
Опорные конструкции для клематисов могут быть самыми разнообразными.
Варианты форм
Они могут быть самыми разнообразными:
- шпалера — самый распространённый вариант, представляющий собой решётку с размером ячеек около 5–6 см. Требует надёжной фиксации, так как может упасть от сильного порыва ветра (если стоит отдельно);

Чаще всего для клематисов делают шпалеру

Арка с клематисами смотрится чрезвычайно декоративно

Пергола с клематисами часто используется в дизайне сада
Опора для клематисов может быть любой фантазийной формы
Идеи для материала изготовления
Выполнить опору можно из самых разных материалов:
- дерево — из деревянных брусков и планок делают любые конструкции, однако служат они недолго и быстро теряют прочность;
- металл — очень долговечный и прочный материал, хорошо держащий форму, но достаточно дорогой и требующий профессиональных навыков при изготовлении и монтаже;
- пластик — лёгкий и стоит недорого, но выгорает на солнце, недостаточно крепкий;
- гибкие материалы (шнуры, верёвки, проволока, леска и пр.) — обладают невысокой стоимостью, быстро монтируются, но и служат почти всегда только один сезон;
- подручные средства и всякий хлам (колёса от телеги, спинки кроватей, старые велосипеды и пр.) — бесплатны, оригинальны;
- необработанные древесные материалы (лоза, бамбук, ветки и пр.).







Опора для клематиса за 15 минут. Популярные типы шпалер и их изготовление
Самый простой и быстрый способ изготовления опоры для клематиса своими руками – из трубы и проволоки. С эстетической точки зрения, этот вариант, возможно, не самый лучший, зато он очень прост в исполнении.

Итак, как сделать опору для клематиса своими руками за полчаса:
- Берется два одинаковых по длине отрезка металлического профиля (это может быть труба, уголок, арматура). Высота столбов не должна быть меньше 250 см (точный размер опоры зависит от сорта клематисов, ведь эти цветы могут сильно отличаться по высоте куста).
- На расстоянии, равном ширине куста клематиса, столбы забиваются в землю с помощью большой кувалды.
- Теперь между опорами нужно натянуть металлическую проволоку (можно использовать шпагат, электрический кабель в обмотке). Интервалы между «струнами» должны быть одинаковыми и равняться 20-25 см.
Все – простейшая опора для клематиса готова!

Также легко соорудить арку для клематиса из крупноячеистой сетки, сплести каркас из веревки, натянуть в нужном месте леску или шпагат – эти варианты не требуют много времени и особых навыков.
Настенная шпалера
Одним из более сложных вариантов является шпалера из деревянных планок, которая может крепиться к глухой стене дома. Плюс таких опор заключается в их декоративности. Да и изготовить каркас из дерева не слишком сложно – понадобятся самые простые инструменты и крепеж.
Совет! Самое главное в изготовлении деревянной опоры для клематиса – выбрать подходящий материал. Рейки не должны быть слишком массивными, оптимальный размер – 40х10 мм.
Форма деревянной опоры для клематиса может быть абсолютно любой. Чаще всего шпалеры делают в виде решеток, но возможно изготовление и более сложных конструкций: веерных, многоярусных, оконных или дверных.

Ячейки в такой опоре должны свободно пропускать листья клематисов, поэтому минимально допустимый их размер – 5х5 см. Чтобы черешки клематиса могли зацепиться за опору, и цветовод мог регулярно подвязывать побеги растения, размеры ячеек опоры не должны быть больше, чем 20х20 см.
Металлическая арка
Несомненно, металлические опоры являются самыми надежными и долговечными. Такие арки способны выдержать массу большого куста или даже нескольких клематисов сразу. Если опору регулярно окрашивать и не допускать появления коррозии, конструкция из металла прослужит не один десяток лет и пригодится для нескольких поколений клематисов.

Внимание! В продаже всегда найдутся красивые кованые опоры из металла, но стоят такие конструкции достаточно дорого. На порядок дешевле обойдутся сборные каркасы, однако надежность их вызывает сомнения.

Соорудить прочную и красивую опору под клематисы из металла можно и своими руками, но для этого необходим сварочный аппарат и умение им пользоваться. Если же специального оборудования у цветовода нет, он может собрать металлическую опору из дюралевых трубок и сетки-рабицы.

Опора для клематиса из арматуры своими руками. Шпалера своими руками, или Дом для клематиса
Шпалера — это решетчатая опора для практически любых вьющихся растений.
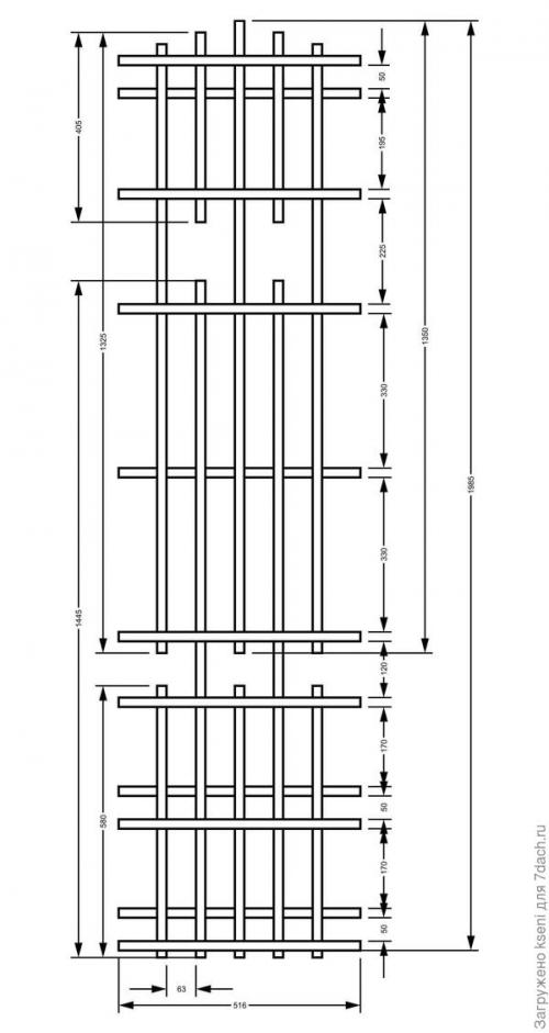
Несколько лет назад у меня в саду появился симпатичный сиреневый клематис. Его цветки, похожие на лопасти, поникали вниз так, что не было видно сердцевинки самого цветка. На протяжении всего времени я не задумывалась об опоре для него, он неспешно рос, наращивая с каждым годом плети все длинней и длинней.В прошлом году я начала задумываться о шпалере. Просмотрев множество фотографий и определившись с материалом, из которого было решено сделать опору, я принялась за чертежи. Магазинные, готовые варианты были тоже рассмотрены, но увы, то не устраивал материал, то цена. Покопавшись на чердаке старого дома, мной была найдена охапка реек. Ширина каждой примерно 2-2,5 сантиметра, ширина 5-7 миллиметров и совершенно разной длины. Ниже приведен макет чертежа, может, кому-то пригодится.
Чертеж шпалеры Вооружившись всеми необходимыми материалами, я приступила к действиям. В соответствии с чертежом были отмерены и напилены рейки необходимых размеров. Дальше предстояло самое увлекательное – это не запутаться в собственном чертеже и собрать все правильно. С помощью шуруповерта мне быстро удалось собрать всю конструкцию.Следующим этапом шла покраска. Покрывала я свою шпалеру пропиткой «Сенеж» цвета венге, очень люблю этот цвет. После нанесения нескольких слоев с перерывом на сушку, началась установка готовой конструкции на место.Поскольку делала я шпалеру в разгар лета, клематис мне пришлось отвязывать от арматуры, которая временно служила ему опорой, и опускать на землю. Старалась сделать это аккуратно, но увы — без обломанных плетей не вышло, они оказались очень хрупкими. После установки шпалеры аккуратно подняла плети и привязала. Жаль, что нет фотографий процесса работы, так увлеклась, что просто забыла их сделать. На зиму шпалеру убрала в сарай, весной она снова займет свое место и будет служить летним домом моему клематису.
Шпалера для клематиса Вот такая конструкция получилась в итоге, надеюсь, прослужит долго.
Опора для клематиса своими руками. Как сделать опору для клематисов своими руками
Совсем необязательно покупать уже готовую опорную конструкцию для плетущихся клематисов, при желании её вполне можно изготовить собственными руками. Рассмотрим несколько вариантов.
Простейшая шпалера делается из пластмассовой или металлической сетки (рабицы) с крупными ячейками (10–15 см), которая натягивается между двумя столбами, вкопанными в землю.
Проще всего просто натянуть сетку между двумя столбиками
Между столбами можно просто протянуть несколько горизонтальных рядов из шпагата или верёвки.
Более сложный вариант с использованием сетки делается так:
- Сетчатое полотно заворачивают в виде цилиндра.
Сетку можно свернуть в форме цилиндра
- Стык прошивают проволокой.
- В землю втыкают 3–4 ножки из арматуры или металлических труб.
- Цилиндр из сетки фиксируют на опорных ножках.
- Клематисы высаживают снаружи по периметру или внутрь конструкции.
Из пластиковых труб несложно изготовить арочную подпорку. Порядок действий:
- Две длинные (по 3–3,5 м) трубки сгибают в средней части, сформировав дугу.
- Полученные заготовки обоими концами вбивают в грунт, оставив между ними расстояние 20–25 см.
- Короткими отрезками трубок соединяют обе арки между собой при помощи шурупов.
- Всю конструкцию можно покрасить, придав ей большую декоративность и обеспечив защиту от негативного воздействия окружающей среды.
Арку можно быстро и просто сделать из труб ПВХ
Подобное изделие можно соорудить из металлической арматуры, все части конструкции при этом соединяются с помощью сварки. Рекомендуется предварительно вкопать и забетонировать 4 трубы, а к ним затем приварить арочный каркас.
Для изготовления шпалеры, фиксируемой на стене любого здания, делают раму из брусков, на которую по диагонали набивают рейки, формируя ячейки от 5 до 20 см. Можно собрать деревянные планки веером, скрепив их с одного конца и протянув с другого края поперечины.
Опоры для клематисов из металла. Самостоятельное изготовление
Для изготовления опоры пригодятся практически любые материалы: дерево, металл, пластик, веревка, проволока или сварная металлическая сетка. Вы можете использовать отслужившие свою службу спинки детской кроватки, демонтированное дверное полотно, колеса велосипеда и многие другие предметы, подлежащие утилизации в вашем хозяйстве. Их выбор и способ применения зависят только от вашей фантазии.
Самодельный деревянный штакетник может послужить основой для живой изгороди из цветущих ломоносов
Важно помнить, что конструкции, созданные вами, будут укрыты от глаз только в летнее время. В течение остального периода (после обрезки или когда растение сбросит листья) они окажутся на виду, поэтому нужно предусмотреть эстетичность опоры и защитить от атмосферного влияния материалы, из которых она сделана, используя качественные лакокрасочные и антисептические покрытия.
При выборе формы и размеров сооружения, следует учитывать потенциальную высоту растения, активность побегообразования и особенности расположения цветов: в верхушечной части или по всему стеблю. Конструкция в итоге должна выдержать вес плетей и устоять в случае ветреной погоды. Толщина элементов, по которым лиане удобно взбираться вверх, не должна превышать 10-15 мм. Поэтому опоры, состоящие из массивных частей, необходимо дополнять, обтягивая проволокой, шпагатом или сеткой. Для клематисов 1-2-й групп обрезки необходимо продумать возможность снимать плети с опорных конструкций и при необходимости сооружать для них зимнее укрытие.
С помощью простейшей решетки можно декорировать лианой глухую стену или ствол сухого дерева
Поскольку ломонос – растение многолетнее, длинноплетистое, стремящееся вверх, обычно его высаживают в солнечных или полутенистых местах у стен дома, вдоль забора, вокруг беседки или возле террасы, предпочтительнее с южной, юго-восточной или юго-западной сторон от построек. При размещении на открытых участках опору для растения устанавливают сразу в процессе посадки.
Шпалеры
При сооружении шпалеры для клематиса используют прочную веревку (шпагат) или готовую пластиковую сетку. Более надежную и долговечную конструкцию можно сделать из металлической сварной сетки (оцинкованной или с ПВХ-покрытием), закрепленной на стойках из арматуры, вкопанных в грунт на глубину не менее 0,5 м.
Шпалера из металлической сетки выглядит легкой и не загромождает пространство
В качестве основного материала для шпалеры подойдут и деревянные рейки или брусы. В таком случае стойки опоры делают из нескольких брусьев, которые также закапывают в грунт на глубину около 0,5 м. При этом расстояния между ними оставляют не слишком большими – 0,6-1 м в зависимости от длины реек. Их набивают на брусья, создавая решетку с прямоугольными или ромбовидными ячейками.
Если вы хотите, чтобы цветы по шпалере были расположены равномерно, – подвязку к опоре следует выполнять веером, а подвязав все побеги вверх, получится создать эффект ниспадающего цветочного каскада.
Обелиски
При наличии сварочного аппарата можно создать и более сложные металлические конструкции, используя арматуру, проволоку, уголок или профильную тонкостенную трубу. Такие опоры хорошо смотрятся на открытых пространствах, например, на газоне или в центре большой клумбы. Если для их покрытия выбрать зеленый цвет – заметность конструкции под стеблями и листвой растения станет значительно меньше.
Кованые или сварные опоры выглядят очень изящно и служат самостоятельным элементом дизайна дачного участка
Для сооружения отдельно стоящей опоры в виде обелиска также подойдут деревянные рейки, ивовые прутья или стебли бамбука, вертикально натянутые веревки.
Арки
Степень сложности арочной конструкции зависит от ваших творческих планов и финансовых возможностей. Простейшую арку несложно соорудить из согнутой в дугу пластиковой трубы среднего или большого диаметра, просверлив в ней дырки и натянув сквозь них веревочную или проволочную шпалеру. Чтобы надежно зафиксировать такое сооружение на участке, оба края дуги устанавливают на арматуру, вкопанную в землю.
Арочная конструкция для клематисов из пластиковой трубы в сочетании со шпалерой
Для изготовления металлической арки понадобятся пруты сечением около 10 мм и трубы диаметром 30 мм. Трубы необходимы для создания основы конструкции, а пруты лучше взять не гладкие, а витые или стеклопластиковые, правда в этом случае придется найти альтернативу сварке и производить их крепление иным способом, например, с применением пластикового шнура или подходящих зажимов. Сооружение опоры начинают с фундамента – укладки труб в землю и их заливки бетоном для придания прочности и устойчивости конструкции. Затем устанавливают арочную часть. Ее своды соединяют прутами в нескольких местах, что придает жесткость готовому изделию и обеспечивает дополнительные элементы, за которые сможет удерживаться растение.









